産品(pin)詳情
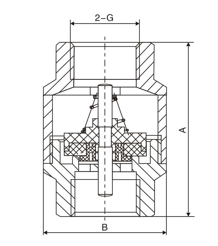
主要外(wài)形尺寸(cùn)
|
DN(mm) |
NPS(in) |
A |
B |
G |
SW |
|
10 |
3/8 |
44 |
30 |
3/8 |
- |
|
15 |
1/2 |
49 |
32 |
1/2 |
26.5 |
|
20 |
3/4 |
53 |
39 |
3/4 |
30 |
|
25 |
1 |
59 |
45 |
1 |
38 |
産品推(tui)薦
地址(zhi):江蘇省(shěng)南京市(shì)玄武區(qu)紅山路(lu)88号3-414室
手(shou)機:13913847330
E-mail:[email protected]
網址(zhi):http://dj33.cc
Copyright © 2022-2023 南京博(bo)高閥門(mén)有限公(gōng)司 版權(quan)所有 京(jing)ICP證000000号
蘇(su)公網安(an)備 32010202011315号
蘇(su)公網安(an)備 32010202011315号
網(wang)站建設(she): 豐盛科(kē)技